這些液壓減壓閥將分支回路上的壓力限制在低于主回路所需的壓力。例如,在一個系統中,支路壓力限制在300 psi,但主回路必須在800 psi下運行。將主回路中的安全閥調整到800 psi以上的設置,以滿足主回路的要求。但是,它將超過300 psi的支路壓力。因此,除主回路中的溢流閥外,還必須在分支回路中安裝減壓閥并設置為300 psi。

在減壓閥(圖A)中,通過調節彈簧的壓縮量可以得到最大支路壓力。彈簧還將閥芯1保持在打開位置。來自主回路的液體從進口C進入閥門,流經閥芯,經出口D進入支路,出口壓力通過通道E作用于閥芯底部,如果壓力不夠為了克服彈簧的推力,閥門將保持打開狀態。
出口(圖B)和閥芯下的壓力超過彈簧的等效推力。閥芯上升,閥門部分關閉。這將增加閥門的流動阻力,通過閥門產生更大的壓降,并降低出口處的壓力。只要工作負載不導致出口處回流,閥芯就會自行定位以限制出口處的最大壓力,而不管入口處的壓力波動如何。回流將關閉閥門,壓力將增加。
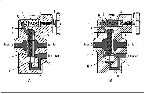
(1)X系列型。X系列減壓閥的內部結構如下圖所示。兩個主要部件是閥蓋中的可調導閥組件,它決定了閥門的工作壓力,以及閥體內的閥芯組件,它響應導閥的動作來限制出口處的最大壓力。

先導閥組件由提升閥1、彈簧2和調節螺釘3組成。調節螺釘的位置決定了提升閥上的彈簧載荷,從而決定了閥門的設置。閥芯組件由閥芯4和彈簧5組成。彈簧是一種低剛度彈簧,傾向于將閥芯向下推并保持閥門打開。閥芯的位置決定了通道C的大小。
當閥門入口處的壓力(圖A)不超過壓力設定值時,閥門完全打開。流體從閥門的額定容量內阻力最小的入口流向出口。通道D將出口連接到閥芯底部。通道E連接閥芯兩端的腔室。出口處的流體壓力存在于閥芯的兩端。當這些壓力相等時,閥芯處于液壓平衡狀態。閥芯上唯一有效的力是彈簧的向下推力,它使閥芯定位并傾向于將通道C保持在其最大尺寸。
當閥門出口處的壓力(圖B)接近閥門的壓力設定值時,H腔內的液體壓力足以克服彈簧的推力并迫使提升閥離開其閥座。先導閥限制F室中的壓力。當出口頂著彈簧和F腔內壓力的共同作用力向上推動閥芯時,更多的壓力上升。
當閥芯向上移動時,它會限制開口以在入口和出口之間產生壓降。出口處的壓力限制為彈簧2和5作用的總和。在正常操作中,通道C永遠不會完全關閉。流量必須通過以滿足閥門低壓側的任何操作要求,加上通過通道E所需的流量,以維持將閥芯保持在控制位置所需的壓降。當閥門被控制減壓時,通過限流通道E的流量是連續的。該流量從排出口流出,應直接返回油箱。
(2)XC系列型。XC系列減壓閥限制出口壓力的方式與X系列相同,當流量從其入口端口到其出口端口時。即使在高于閥門設置的壓力下,集成的止回閥也允許從出口到入口反向自由流動。然而,對于該流動方向沒有提供相同的減壓效果。XC系列閥門的內部結構如下圖所示。


