目前國內閥門廠家生產的高壓蒸汽減壓閥普遍存在控制精度低、噪音大、只能減壓不能減壓的缺點,不適合控制精度要求高的工況。目前,我國高精度、大流量、低噪音、高壓泄壓閥行業缺乏高精度、大流量的空白。蒸汽減壓閥是通過調節將入口壓力降低到一定的出口壓力,并靠介質本身的能量自動保持出口壓力穩定的閥門。

從流體力學的角度來看,蒸汽減壓閥是一種可以改變局部阻力的節流元件,即通過改變節流面積,改變流體的流量和動能,從而產生不同的壓力損失,從而達到減壓的目的。然后通過控制調節系統的調節來平衡閥后壓力的波動和彈簧力,使閥后壓力在一定的誤差范圍內保持恒定。
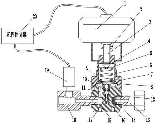
蒸汽減壓閥作為先導活塞結構,采用多孔減壓設計,可大大增加氣體流量,有效消除冰堵的產生條件,防止氣蝕及其對節流通道的影響,延長產品使用壽命。
公稱直徑:DN8~DN50,高輸入氣體壓力可達40MPa,低輸出壓力可達零壓。不僅可以降低動壓,而且可以降低靜壓。
壓縮彈簧采用多個蝶形彈簧組合,提高了蒸汽減壓閥的輸出控制精度,避免了傳統彈簧疲勞、精度差的缺點。出口壓力可根據需要自由調節??刂凭雀?,閥后壓力波動范圍≤1%。
更換不同的材料和密封材料可以適用于不同氣體的壓力調節。變速器可將實時閥位信號傳送到中央控制室,以便隨時了解閥門動態。
(文章來源于網絡,侵權請聯系刪除)

